WWT121-10-86
最高支持1.2"靶面相机
申请报价
产品参数
产品图纸
相关应用
产品参数
data
基本参数
支持 CCD 尺寸 (Φmm)
19.2(1.2")
物方工作距 WD (mm)
86
像方 F/#
8.0
放大倍率 β (x)
1.0
焦距(mm)
81.57
数值孔径 NA
0.06235
物方分辨率 (um)
5.4
物方景深 DoF (mm)
0.6
像方 MTF30 (lp/mm)
54
相机接口
C
镜头总长 (mm)
99.5
是否同轴光
可调光栏
TV 畸变 (%)
0.5
视野范围
1.2" IMX530/540 (14.6X12.6)
14.6x12.6
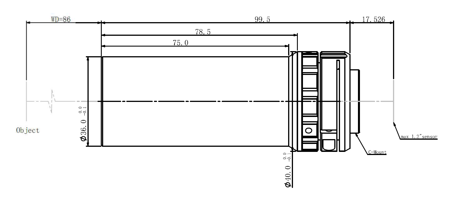
产品图纸
drawing

结构图

相关应用
application